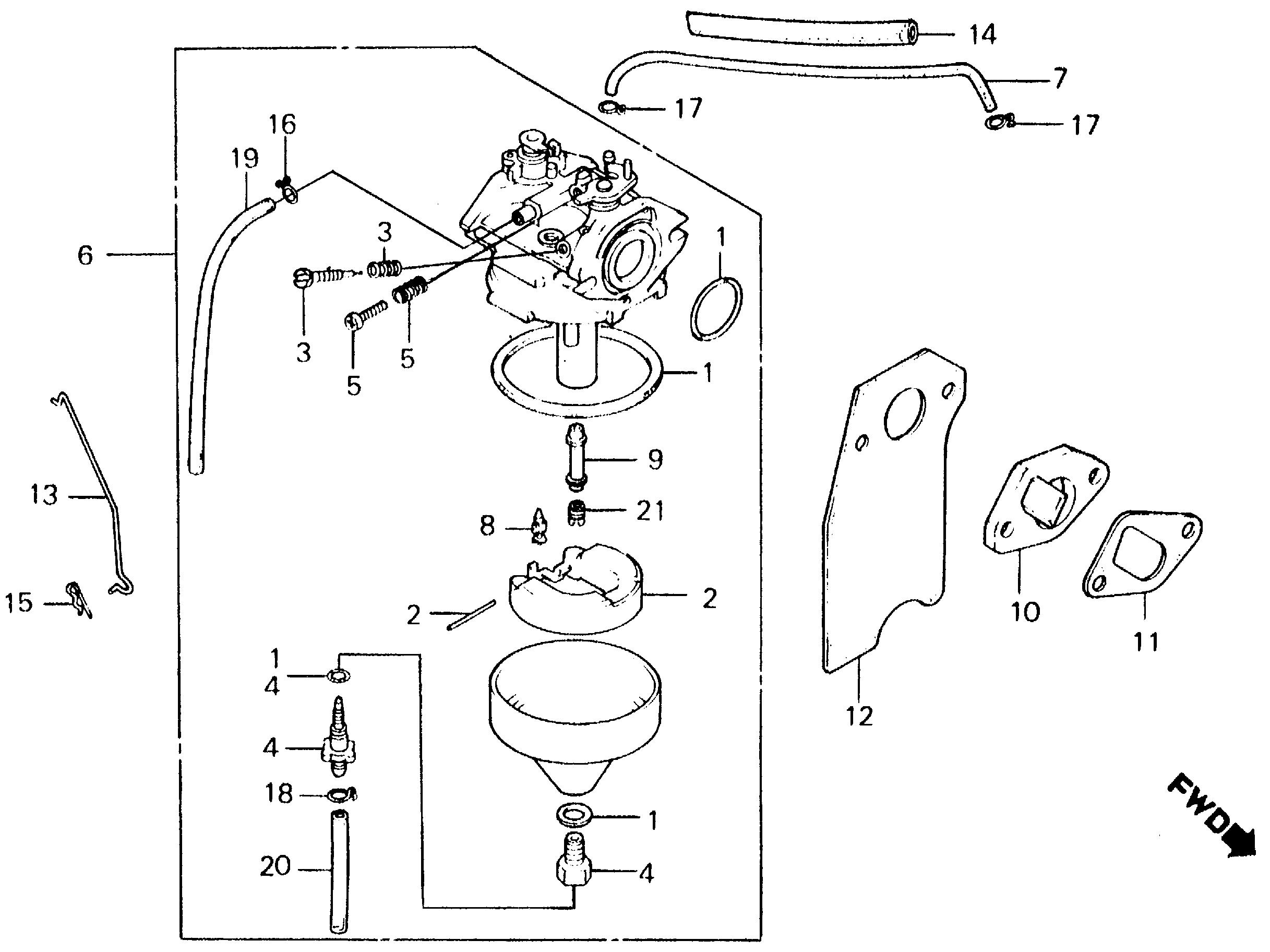
Ref No
Part Number
Description
Serial Range
Qty
Price
Ref No 1
Part Number 16010-892-505
Description GASKET SET
Serial Range 1000001 - 9999999
Qty
Price $24.72
Add To Cart
Ref No 2
Part Number 16013-883-005
Description FLOAT SET
Serial Range 1000001 - 9999999
Qty
Price $37.64
Add To Cart
Ref No 3
Part Number 16016-892-005
Description SCREW SET A (NOT AVAILABLE)
Serial Range 1000001 - 9999999
Ref No 4
Part Number 16024-892-005
Description SCREW SET, DRAIN (NOT AVAILABLE)
Serial Range 1000001 - 9999999
Ref No 5
Part Number 16028-892-005
Description SCREW SET B (NOT AVAILABLE)
Serial Range 1000001 - 9999999
Ref No 6
Part Number 16100-892-005
Description CARBURETOR ASSY. (NOT AVAILABLE)
Serial Range 1000001 - 1049472
Ref No 6
Part Number 16100-892-015
Description CARBURETOR ASSY. (NOT AVAILABLE)
Serial Range 1049473 - 9999999
Ref No 7
Part Number 16111-892-000
Description TUBE, FUEL (NOT AVAILABLE)
Serial Range 1000001 - 9999999
Ref No 8
Part Number 16155-883-005
Description VALVE, FLOAT
Serial Range 1000001 - 9999999
Ref No 9
Part Number 16166-892-005
Description NOZZLE, MAIN (NOT AVAILABLE)
Serial Range 1000001 - 9999999
Ref No 10
Part Number 16211-892-000
Description INSULATOR, CARBURETOR (NOT AVAILABLE)
Serial Range 1000001 - 9999999
Ref No 11
Part Number 16212-892-000
Description GASKET, INSULATOR (NOT AVAILABLE)
Serial Range 1000001 - 9999999
Ref No 12
Part Number 16213-892-000
Description GASKET, CARBURETOR (NOT AVAILABLE)
Serial Range 1000001 - 9999999
Ref No 13
Part Number 16625-892-000
Description ROD, CHOKE (NOT AVAILABLE)
Serial Range 1000001 - 1061704
Ref No 13
Part Number 16625-892-010
Description ROD, CHOKE
Serial Range 1061705 - 1067588
Ref No 13
Part Number 16625-892-020
Description ROD, CHOKE (NOT AVAILABLE)
Serial Range 1067589 - 9999999
Ref No 14
Part Number 16854-836-010
Description RUBBER, SUPPORTER (NOT AVAILABLE)
Serial Range 1000001 - 9999999
Ref No 15
Part Number 90702-892-010
Description PIN, LOCK (NOT AVAILABLE)
Serial Range 1061705 - 9999999
Ref No 15
Part Number 94251-04000
Description PIN, LOCK (4MM)
Serial Range 1000001 - 1061704
Qty
Price $0.82
Add To Cart
Ref No 16
Part Number 95002-02070
Description CLIP, TUBE (B7)
Serial Range 1061705 - 9999999
Qty
Price $2.20
Add To Cart
Ref No 17
Part Number 95002-02080
Description CLIP, TUBE (B8)
Serial Range 1061705 - 9999999
Qty
Price $2.20
Add To Cart
Ref No 18
Part Number 95002-02650
Description CLIP, TUBE (B6.5)
Serial Range 1000001 - 9999999
Qty
Price $1.80
Add To Cart
Ref No 19
Part Number 95003-05008-60M
Description BULK HOSE, VINYL (3.5X6.5X8000) (3.5X6.5X150)
Serial Range 1000001 - 9999999
Qty
Price $27.30
Add To Cart
Ref No 20
Part Number 95003-07008-60M
Description BULK HOSE, VINYL (4X7X8000) (4X7X50)
Serial Range 1000001 - 9999999
Qty
Price $34.56
Add To Cart
Ref No 21
Part Number 99101-124-0450
Description JET, MAIN (#45)
Serial Range 1000001 - 9999999
Qty
Price $12.08
Add To Cart
Ref No 21
Part Number 99101-124-0480
Description JET, MAIN (#48)
Serial Range 1000001 - 9999999
Qty
Price $12.08
Add To Cart
Ref No 21
Part Number 99101-124-0500
Description JET, MAIN (#50)
Serial Range 1000001 - 9999999
Qty
Price $12.08
Add To Cart
Ref No 21
Part Number 99101-124-0520
Description JET, MAIN (#52)
Serial Range 1000001 - 9999999
Qty
Price $12.08
Add To Cart