Generators EB EB2500 EB2500XK1 AG/A EZCP-1000001-1018062 TOOLS - Cason's Equipment

Ref No
Part Number
Description
Serial Range
Qty
Price

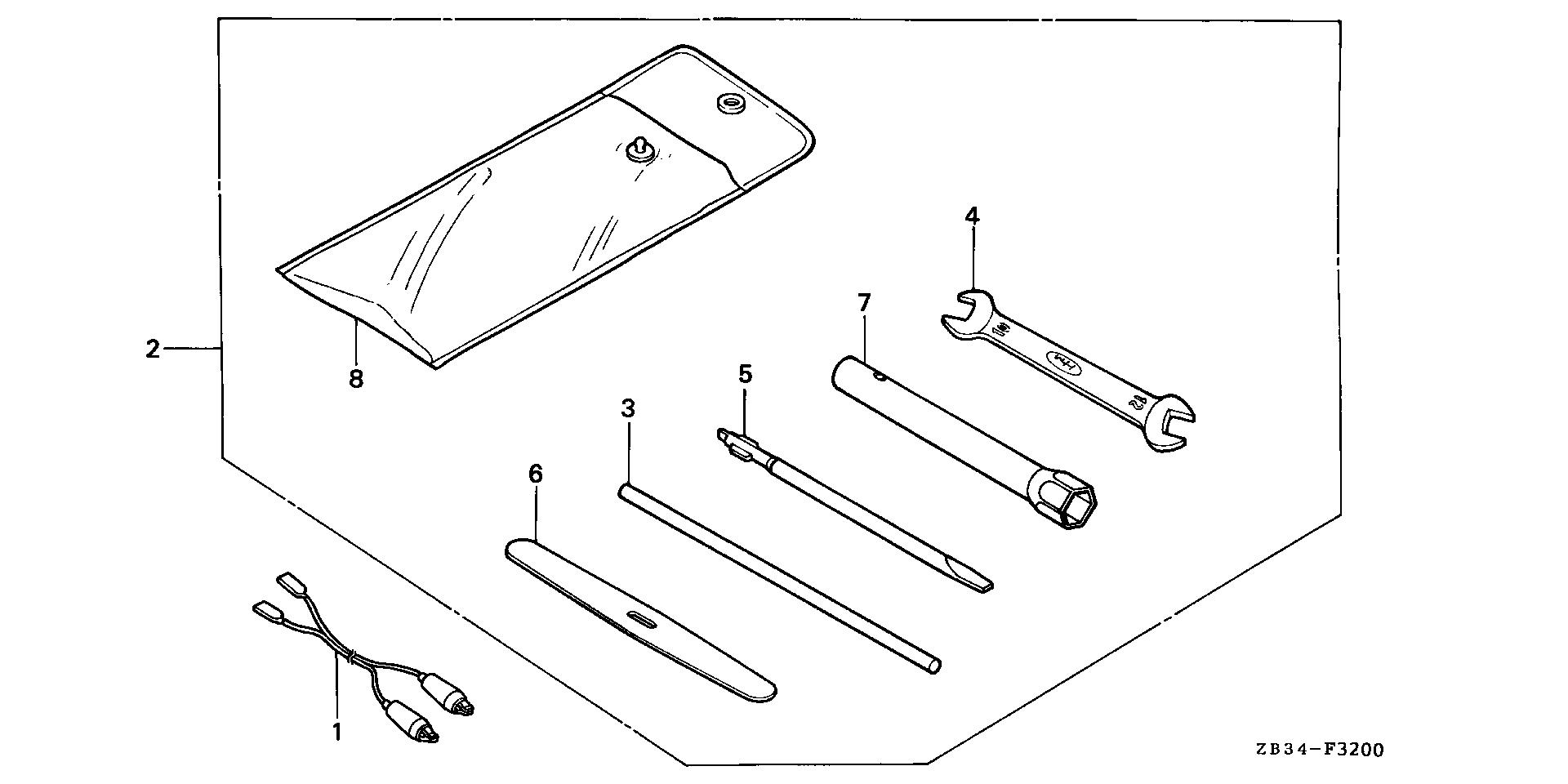
Ref No
2
Part Number
89000-ZB2-000
Description
TOOL KIT (NOT AVAILABLE)
Serial Range
1000001 - 9999999

Ref No
3
Part Number
89211-170-000
Description
BAR, PLUG WRENCH
Serial Range
1010032 - 9999999
Qty
Price
$3.16

Ref No
4
Part Number
99001-10120
Description
SPANNER (10X12)
Serial Range
1051707 - 9999999
Qty
Price
$6.86

Ref No
5
Part Number
99003-30000
Description
DRIVER 3, MINUS SCREW (NO.2)
Serial Range
1010032 - 9999999
Qty
Price
$4.80

Ref No
6
Part Number
99003-40000
Description
LEVER
Serial Range
1010032 - 9999999
Qty
Price
$1.56

Ref No
7
Part Number
99004-21001
Description
WRENCH, BOX (P21)
Serial Range
1010032 - 9999999
Qty
Price
$4.20

Ref No
8
Part Number
89101-ME5-670
Description
BAG, TOOL
Serial Range
1051707 - 9999999